Új szabadalmi bejegyzést írt alá Jeff Bezos, az Amazon vezérigazgatója. Ha elindulunk az úton és a technológia mûködõképes lesz, akkor soha többé nem fogjuk elejteni a telefonunkat.
Telefonguru Shop – nézd meg az ajánlatokat!
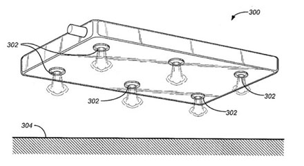
Új szabadalmi bejegyzést írt alá Jeff Bezos, az Amazon vezérigazgatója. Ha elindulunk az úton és a technológia mûködõképes lesz, akkor soha többé nem fogjuk elejteni a telefonunkat. A rendszer elõre telepített alkalmazásból állna, amely felismeri a készülék zuhanását, vélhetõen a gravitációs erõt érzékelné, amely aktiválna egy rendszert, ami "mini légzsákokból" állna, ezzel is megelõzve a készülék becsapódását.

Ha jobban belegondulunk erre nagyjából minden feltétel adott, hiszen gyorsulásérzékelõvel és giroszkóppal most is rendelkezünk. A rendszer valószínûleg egy védõtok formájában kerülhet a piacra, hiszen a készülékbe építés jelentõsen megvastagítaná a készülékeket. A kezdeményezés minden esetre pozitív és kíváncsian várjuk az eredményeket.

.jpg)

